滾筒篩分機的改進措施有哪些
作者:宏源科技 日期:2014-08-09
上一節我們分析了某化肥廠中滾筒篩分機的故障,那么怎么進行改造呢,我們推薦的改進措施如下:
1、改變方隔墊外形
為使梳煤板能夠深入篩圈,達到有效清理篩筒積煤的目的,通過改變聯接軸與篩圈連接的方隔墊形狀的方法,消除影響梳煤板安裝深度的陷,梳板探入篩圈深度由原來的 4 ~5 mm 增加至 12 mm,穿過篩圈2 mm,達到了徹底清理篩圈間積煤的效果。如圖 5 所示。
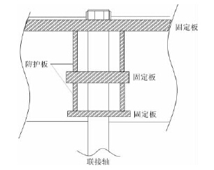
在滾筒篩分機的篩筒出入口滾圈聯接軸固定處,增加20mm固定鋼板,以達到增加連接強度、降低扭力的 作用; 并且為防止物料對聯接軸的磨損,在篩筒兩端聯接軸的兩側增加了10mm防護鋼板,保護聯 接軸免受煤流沖刷。改進后的聯接軸固定方式如 圖 6 所示。
為了避免煤流進入篩筒時直接沖擊進料端篩圈,從而造成篩圈嚴重磨損的問題,采取了將篩筒進料端去除部分篩條,并將滾圈適當加寬20cm ( 現場實際測量) 的方法,使煤流落點避開容易磨損變形的篩圈,落至延長的滾圈鋼板上,避免了對篩圈的沖擊磨損,同時便于后期的磨損修復。如圖7所示。
1、改變方隔墊外形
為使梳煤板能夠深入篩圈,達到有效清理篩筒積煤的目的,通過改變聯接軸與篩圈連接的方隔墊形狀的方法,消除影響梳煤板安裝深度的陷,梳板探入篩圈深度由原來的 4 ~5 mm 增加至 12 mm,穿過篩圈2 mm,達到了徹底清理篩圈間積煤的效果。如圖 5 所示。

圖 5 方隔墊改進前后對比
2、增加聯接軸連接強度及防沖刷保護在滾筒篩分機的篩筒出入口滾圈聯接軸固定處,增加20mm固定鋼板,以達到增加連接強度、降低扭力的 作用; 并且為防止物料對聯接軸的磨損,在篩筒兩端聯接軸的兩側增加了10mm防護鋼板,保護聯 接軸免受煤流沖刷。改進后的聯接軸固定方式如 圖 6 所示。

圖 6 改進后的聯接軸固定方式示意
3、延長篩筒進料端滾圈寬度為了避免煤流進入篩筒時直接沖擊進料端篩圈,從而造成篩圈嚴重磨損的問題,采取了將篩筒進料端去除部分篩條,并將滾圈適當加寬20cm ( 現場實際測量) 的方法,使煤流落點避開容易磨損變形的篩圈,落至延長的滾圈鋼板上,避免了對篩圈的沖擊磨損,同時便于后期的磨損修復。如圖7所示。
本文關鍵詞:










